رگولاتور 5+ ولت
78L05 مدل
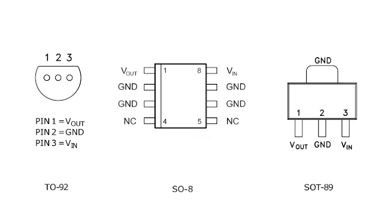
TO-92 پکیج
جنس پلاستک
ورودی حداکثر 30 ولت
خروجی 5 ولت
جریان 100 میلی آمپر

رگلاتور قطعه ایی الکترونیکی که در جهت کاهش و ثابت نگهداشتن و تنظیم ولتاژ کاربرد دارد
دانلود دیتاشیت
دیتاشیت برای کالا وجود ندارد
>
ویدیوی برای این کالا وجود ندارد
×


























